|
RL50500
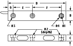
Single-Ended Beam, Stainless Steel, IP67

Extremely
low-profile stainless steel design offers a highly-versatile,
accurate and durable product. Designed as a replacement for
the Electroscale 017116-001, the RL50500 is also well suited
to many OEM applications where a low profile, durable, accurate
load cell is needed. Capacity of 500 lb (226.8 kg). Complete
with 15' (4.6m) of load cell cable.
|