RL40BBS Single-Ended Beam, Alloy Steel, IP65
Bar

Designed for precision force and weight measurement. Capacities from 50 to 2500 lb (22.7 to 1134.0 kg). Complete with 20' (6.1m) of load cell cable.

spacer spacer
Photo
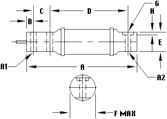
Dimensional Drawing
Rated
Capacity
A A1 A2 B C D E F G H
Bar
lb/inches
50-100  6.00 .31 .31 .38  .88 4.25 1.06 1.41 - -
200-1000  6.62 .52 .52 .50 1.12 4.25 1.06 1.41 - -
2500 11.38 .53 .62 .50 1.75 8.25 1.25 2.19 1.19 .12
Bar
kg/millimeters
22.7-45.4  52.4  7.9  7.9  9.7 22.4 108.0 26.9 35.8 - -
90.7-453.6 168.2 13.2 13.2 12.7 28.5 108.0 26.9 35.8 - -
1134.0 289.1 13.5 15.8 12.7 44.5 209.6 31.8 55.6 30.3 3.0
Bar
 


Single-Ended Beams | Double-Ended Beams
Single Points | S-Beams | Compression Canisters |
Sensors


 
 

© Copyright 2003 Rice Lake Weighing Systems
2007 DKL ltd.
Контактная информация