|
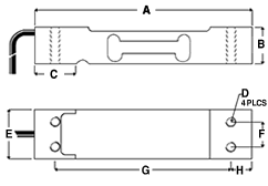
RL1521A
Single Point, Aluminum

Low-profile
single point load cell. Designed for electronic bench scales
and platform scales where only one load cell is used. Designed
as a replacement for the BLH and NMB® C2G1. Capacities
from 3 to 35 kg (6.6 to 77.2 lb). Integral 17.8" (450mm)
load cell cable.
|